收藏本页
|
设为主页
|
随便看看
3
5
雄县爱民电器有限公司
主营:油浸式变压器铁芯、干式变压器铁芯、互感器及电抗器铁...
网站首页
公司介绍
供应产品
新闻中心
荣誉资质
联系方式
诚信档案
网站公告
雄县爱民电器有限公司成立于2001年4月,坐落于雄安新区-雄县。注册资金2000万元,员工40余人,生产能力:年产量10000吨,我公司拥有先进的技术,先进的设备,目前有纵剪线2条、横剪线9条,横剪加工最大剪切范围为900mm,可叠装150吨以下产品,经过十余年的发展,现已成为保定雄县铁芯制作领先者。 公司在发展的过程中,不断地对设备数字化、智能化、工艺技术更新,在环境保护方面加大投入,公司始终贯穿绿色、纸碳发展的理念,生态与环境共融!生产中对设备进行智能化改造,加大回收利用。推行清洁生产,提倡循环使用和节约能源,减少固废的产生量和提高得用率。努力提升技术力量,不断完善的质量管理体系及高效团队精神,为客户提供 优质服务。
新闻中心
制作变压器铁芯的材料及其作用
电力变压器铁心接地故障原因简析
变压器铁芯故障判断与解决方法
硅钢片铁芯在变压器中起哪些作用?
产品分类
全部分类
干变铁芯
油变铁芯
电抗器铁芯
特种变压器铁芯
半成品硅钢片
联系方式
联系人:张先生
电话:0312-5761788
邮件:362674903@qq.com
手机:15132291888
传真:0312-5761788
您当前的位置:
首页
»
荣誉资质
» 专利证书
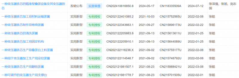
荣誉资质
专利证书
上传时间:2026-01-05 浏览次数:261
返回列表
发证机构:
国家知识产权局
发证时间 :
2022-02-22
上传时间 :
2026-01-05
有效期至 :
永久
证书介绍
证书图片
网站首页
|
公司介绍
|
供应产品
|
新闻中心
|
荣誉资质
|
联系方式
|
诚信档案
|
管理入口
©2026 雄县爱民电器有限公司 版权所有 技术支持:
变压器市场网
访问量:93475